William HillÍþÁ®Ï£¶û

menu
202206201908451129
202206201908519380
201908311859263050
·§ÃÅ֪ʶ
Ò»ÖÖÊÖ¶¯Ê½Æø¶¯µ÷Àí·§µÄÖÆ×÷ÒªÁì
Ðû²¼Ê±¼ä:2020-08-20 11:12:58 ¡¾·µ»Ø¡¿

¡¡¡¡±¾ÊÊÓÃÐÂÐÍÉæ¼°´¬²°µ÷Àí·§ÊÖÒÕÁìÓò£¬£¬ÏêϸΪһÖÖÊÖ¶¯Ê½Æø¶¯µ÷Àí·§¡£

ÊÖ¶¯Ê½Æø¶¯µ÷Àí·§ÕûÌå½á¹¹Í¼


¡¡¡¡Åä¾°ÊÖÒÕ£º£º £º


¡¡¡¡Æø¶¯µ÷Àí·§¾ÍÊÇÒÔѹËõ¿ÕÆøÎª¶¯Á¦Ô´£¬£¬ÒÔÆø¸×ΪִÐÐÆ÷£¬£¬²¢½èÖúÓÚµçÆø·§ÃŶ¨Î»Æ÷¡¢¡¢×ª»»Æ÷¡¢¡¢µç´Å·§¡¢¡¢±¬Î¥·¨µÈ¸½¼þÈ¥Çý¶¯·§ÃÅ£¬£¬ÊµÏÖ¿ª¹ØÁ¿»ò±ÈÀýʽµ÷Àí£¬£¬ÎüÊÕ¹¤Òµ×Ô¶¯»¯¿ØÖÆÏµÍ³µÄ¿ØÖÆÐźÅÀ´Íê³Éµ÷Àí¹ÜµÀ½éÖʵÄÁ÷Á¿¡¢¡¢Ñ¹Á¦¡¢¡¢Î¶ȵÈÖÖÖÖ¹¤ÒÕ²ÎÊý£¬£¬Æø¶¯µ÷Àí·§µÄÌØµã¾ÍÊÇ¿ØÖƼòÆÓ£¬£¬·´Ó³¿ìËÙ£¬£¬ÇÒʵÖÊÇå¾²£¬£¬²»ÐèÁíÍâÔÙ½ÓÄÉ·À±¬²½·¥£¬£¬Æø¶¯µ÷Àí·§Í¨³£ÓÉÆø¶¯Ö´Ðлú¹¹ºÍµ÷Àí·§ÅþÁ¬×°Öõ÷ÊÔ×é³É£¬£¬Æø¶¯Ö´Ðлú¹¹¿É·ÖΪµ¥×÷ÓÃʽºÍË«×÷ÓÃʽÁ½ÖÖ£¬£¬µ¥×÷ÓÃÖ´ÐÐÆ÷ÄÚÓи´Î»µ¯»É£¬£¬¶øË«×÷ÓÃÖ´ÐÐÆ÷ÄÚûÓи´Î»µ¯»É¡£ÆäÖе¥×÷ÓÃÖ´ÐÐÆ÷£¬£¬¿ÉÔÚʧȥÆðÔ´»òͻȻ¹ÊÕÏʱ£¬£¬×Ô¶¯¹éλµ½·§ÃųõʼËùÉèÖõĿªÆô»ò¹Ø±Õ״̬¡£


¡¡¡¡ÏÖÔÚÊг¡ÉÏͨÓÃµÄÆø¶¯µ÷Àí·§£¬£¬Ò»°ã½ÓÄÉÂÝÎÆ¾ÙÐз§ÌåÀο¿¡£ÕâÖֽṹµ¼ÖÂÆø¶¯µ÷Àí·§²ð×°²»Òס£²»µ«Ìá¸ßÁËÊÖ¹¤²Ù×÷µÄÀͶ¯Ç¿¶È£¬£¬ÇÒ¶à´Î²ð×°ºóÈÝÒ×·ºÆðÊý¾Ý½û¾øÈ·£¬£¬Îó²î½Ï´óµÄÎÊÌâ¡£ÓÉÓÚ¼Ó¹¤Îó²î¡¢¡¢×°ÅäµÈ·½ÃæµÄÓ°Ï죬£¬µ±Òƶ¯·§¸Ëʱ£¬£¬·§°êÃÜ·âÃæºÍ·§×ùÃÜ·âÃæÖ®¼äµÄ±¬·¢Ò»¶¨¾àÀ룬£¬µ±ÐèÒª¹Ø±Õ¸Ã·§Ê±£¬£¬ÎÞ·¨µÖ´ïÈ«ÃÜ·â״̬£¬£¬×ß©Á¿´ó£¬£¬¾ßÓмӹ¤ÄÑÌâ¡¢¡¢±¾Ç®¸ßµÄÊÖÒÕȱÏÝ¡£


¡¡¡¡ÊÖÒÕʵÏÖÒªËØ£º£º £º


¡¡¡¡±¾ÊÊÓÃÐÂÐ͵ÄÄ¿µÄÔÚÓÚÌṩһÖÖÊÖ¶¯Ê½Æø¶¯µ÷Àí·§£¬£¬Í¨¹ýÔÚ·§ÌåÍâ²àÉèÖõ÷ÀíÂݸË£¬£¬Í¨¹ýÊÖ¶¯µ÷ÀíËø½ôÂÝÄ¸Ëø½ôÆø¶¯µ÷Àí·§£¬£¬ÒÔ½â¾öÉÏÊöÅä¾°ÊÖÒÕÖÐÌá³öµÄÎÊÌâ¡£


¡¡¡¡ÎªÊµÏÖÉÏÊöÄ¿µÄ£¬£¬±¾ÊÊÓÃÐÂÐÍÌṩÈçÏÂÊÖÒÕ·½°¸£º£º £ºÒ»ÖÖÊÖ¶¯Ê½Æø¶¯µ÷Àí·§£¬£¬°üÀ¨·§Ìå¡¢¡¢·§¸Ç¡¢¡¢·§°ê×é¼þ¡¢¡¢ÅþÁ¬Æ÷¡¢¡¢Éϲ¿·§¸Ë¡¢¡¢Ï²¿·§¸Ë¡¢¡¢µ¯»É¡¢¡¢µ¯»É×ù¡¢¡¢µ÷ÀíÂݸË¡¢¡¢Ëø½ôÂÝĸÒÔ¼°Æø¶¯Ö´ÐÐÆ÷£¬£¬ËùÊöÆø¶¯Ö´ÐÐÆ÷ÉèÓÚËùÊö·§ÌåµÄÉÏ·½£¬£¬ËùÊöÅþÁ¬Æ÷Ò»¶Ëͨ¹ýÉϲ¿·§¸ËÓëÆø¶¯Ö´ÐÐÆ÷ÅþÁ¬£¬£¬ËùÊöÅþÁ¬Æ÷ÁíÒ»¶Ëͨ¹ýϲ¿·§¸ËÓë·§ÌåÀο¿ÅþÁ¬£¬£¬ËùÊöµ÷ÀíÂݸËÉèÓÚËùÊöÅþÁ¬Æ÷Á½²à£¬£¬ËùÊöËø½ôÂÝĸÐý½ÓÓëËùÊöµ÷ÀíÂݸËÉÏ£¬£¬ËùÊö·§¸ÇÉèÓÚËùÊöÆø¶¯Ö´ÐÐÆ÷Óë·§ÌåÖ®¼ä£¬£¬ËùÊöϲ¿·§¸Ë϶ËÉèÓÚËùÊö·§°ê×é¼þÄÚ£¬£¬ËùÊöϲ¿·§¸ËÁ½²àÉèÓе¯»É×ù£¬£¬ËùÊöµ¯»ÉÉèÓÚËùÊöµ¯»É×ùÉÏ£¬£¬ËùÊö·§ÌåÏ·½ÉèÓÐÈë¿Ú£¬£¬ËùÊö·§ÌåÓÒ²àÉèÓгö¿Ú¡£


¡¡¡¡ÓÅÑ¡µÄ£¬£¬·§°ê×é¼þ°üÀ¨·§°ê¡¢¡¢·§°ê×ù¡¢¡¢·§°êµ¯»ÉÒÔ¼°oÐÍÃÜ·âȦ£¬£¬ËùÊö·§°ê×ùÉèÓÚ·§°êµÄÏ·½£¬£¬ËùÊöoÐÍÃÜ·âȦÉèÓÚËùÊö·§°êÓë·§°ê×ùÖ®¼ä£¬£¬ËùÊö·§°êµ¯»ÉÉèÓÚËùÊö·§°ê×ùÓë·§ÌåÖ®¼ä¡£


¡¡¡¡ÓÅÑ¡µÄ£¬£¬·§°ê³ÊtÐͽṹ£¬£¬ËùÊö·§°êÖв¿ÉèÓа¼²Û£¬£¬ËùÊö°¼²ÛÓëËùÊöϲ¿·§¸ËµÄµ×¶ËÏàÊÊÅä¡£


¡¡¡¡ÓÅÑ¡µÄ£¬£¬µ¯»É×ùÓëËùÊöϲ¿·§¸Ë³Ê±ÊÖ±½á¹¹£¬£¬ËùÊöµ¯»ÉÓëËùÊöϲ¿·§¸Ë³ÊƽÐнṹ¡£


¡¡¡¡ÓÅÑ¡µÄ£¬£¬µ¯»É×ù°üÀ¨Éϵ¯»É×ùÒÔ¼°Ïµ¯»É×ù£¬£¬ËùÊöÉϵ¯»É×ùÓëËùÊöϵ¯»É×ù³Ê¾¶Ïò¶Ô³ÆÂþÑÜ¡£


¡¡¡¡ÓÅÑ¡µÄ£¬£¬Æø¶¯Ö´ÐÐÆ÷Ò»²à»¹ÉèÓеçÀÂÃÜ·âÌס£


¡¡¡¡ÓëÏÖÓÐÊÖÒÕÏà±È£¬£¬±¾ÊÊÓÃÐÂÐ͵ÄÓÐÒæÐ§¹ûÊÇ£º£º £º


¡¡¡¡(1)±¾ÊÊÓÃÐÂÐÍͨ¹ýÆø¶¯µ÷Àí·§Öеķ§Ìå¡¢¡¢Éϲ¿·§¸Ë¡¢¡¢Ï²¿·§¸Ë¡¢¡¢·§°ê¡¢¡¢Æø¶¯Ö´ÐÐÆ÷µÈ×é¼þÖ®¼äµÄÏ໥ÅäºÏ£¬£¬Ê¹ÓÃÆø¶¯µ÷Àí·§Äڵĵ÷Àí¸Ë£¬£¬¿ÉÒÔÊÖ¶¯µ÷ÀíÆø¶¯µ÷Àí·§µÄËø½ô½á¹¹£¬£¬Ê¹µÃµ÷Àí·§ÐÔÄÜÎȹÌ£¬£¬½á¹¹¼òÆÓ£¬£¬±ãÓÚÉú²úÖÆÔìºÍ²Ù×÷¡£


¡¡¡¡(2)±¾ÊÊÓÃÐÂÐÍͨ¹ýÔÚ·§°ê×é¼þÖÐÉèÖ÷§°ê×ùÒÔ¼°·§°êµ¯»É£¬£¬Í¨¹ý·§°ê×ùÒÔ¼°·§°êµ¯»É£¬£¬Ê¹Æø¶¯µ÷Àí·§¾ßÓзÀÕñ¶¯ÐԺõÄÓŵã¡£


¡¡¡¡(3)±¾ÊÊÓÃÐÂÐÍͨ¹ýÔÚ·§°ê×é¼þÖÐÉèÖÃoÐÍÃÜ·âȦ£¬£¬Í¨¹ýoÐÍÃÜ·âȦ¿ÉÒÔÔöÌí·§°êÓëϲ¿·§¸ËµÄÃÜ·âÐÔ¡£


¡¡¡¡(4)±¾ÊÊÓÃÐÂÐÍͨ¹ýÔÚÆø¶¯µ÷Àí·§ÖÐÉèÖÃÅþÁ¬Æ÷£¬£¬Í¨¹ýÅþÁ¬Æ÷ÅþÁ¬Æø¶¯Ö´ÐÐÆ÷ÒÔ¼°·§Ì壬£¬Ê¹µÃÆø¶¯Ö´ÐÐÆ÷ÄÜ·¢¶¯·§ÌåÔËÐС£


¡¡¡¡(5)±¾ÊÊÓÃÐÂÐÍÔÚÉϲ¿·§¸ËÁ½²àÉèÖõ÷ÀíÂݸË£¬£¬Í¨¹ýµ÷ÀíÂݸËÓëËø½ôÂÝĸ֮¼äµÄÅäºÍ£¬£¬ÔÚÆô±Õ·§ÃÅʱ£¬£¬È·±£·§¸Ç¡¢¡¢·§ÌåÓë·§°êÖ®¼äµÄÃÜ·âÐÔ¼á³ÖÓÅÒì¡£


¡¡¡¡(6)±¾ÊÊÓÃÐÂÐÍͨ¹ýÔÚÆø¶¯Ö´ÐÐÆ÷Ò»²àÉèÖõçÀÂÃÜ·âÌ×£¬£¬¿ÉÒÔ½«µçÀÂÏß²ØÓÚµçÀÂÃÜ·âÌ×ÖУ¬£¬·ÀÖ¹±»Íâ½çÇéÐÎÓ°ÏìʹÓá£


¡¡¡¡¸½Í¼ËµÃ÷


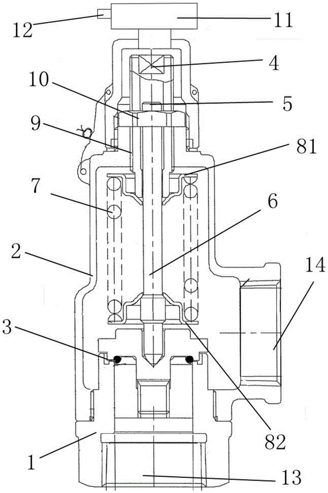
¡¡¡¡Í¼1ÎªÆø¶¯µ÷Àí·§ÕûÌå½á¹¹Í¼£»


¡¡¡¡Í¼2Ϊ·§°ê×é¼þ½á¹¹Í¼¡£


¡¡¡¡ÏêϸʵÑ鷽ʽ


¡¡¡¡ÏÂÃæ½«Á¬Ïµ±¾ÊÊÓÃÐÂÐÍʵÑéÀýÖеĸ½Í¼£¬£¬¶Ô±¾ÊÊÓÃÐÂÐÍʵÑéÀýÖеÄÊÖÒÕ·½°¸¾ÙÐÐÇåÎú¡¢¡¢ÍêÕûµØÐÎò£¬£¬ÏÔÈ»£¬£¬ËùÐÎòµÄʵÑéÀý½ö½öÊDZ¾ÊÊÓÃÐÂÐÍÒ»²¿·ÖʵÑéÀý£¬£¬¶ø²»ÊÇËùÓеÄʵÑéÀý¡£»ùÓÚ±¾ÊÊÓÃÐÂÐÍÖеÄʵÑéÀý£¬£¬±¾ÊÂÓòͨË×ÊÖÒÕÖ°Ô±ÔÚûÓÐ×ö³ö´´Á¢ÐÔÀͶ¯Ìõ¼þÏÂËù»ñµÃµÄËùÓÐÆäËûʵÑéÀý£¬£¬¶¼ÊôÓÚ±¾ÊÊÓÃÐÂÐͱ£»¤µÄ¹æÄ£¡£


¡¡¡¡Çë²ÎÔÄͼ1ºÍͼ2£¬£¬±¾ÊÊÓÃÐÂÐÍÌṩһÖÖÊÖÒÕ·½°¸£º£º £ºÒ»ÖÖÊÖ¶¯Ê½Æø¶¯µ÷Àí·§£¬£¬°üÀ¨·§Ìå1¡¢¡¢·§¸Ç2¡¢¡¢·§°ê×é¼þ3¡¢¡¢ÅþÁ¬Æ÷4¡¢¡¢Éϲ¿·§¸Ë5¡¢¡¢Ï²¿·§¸Ë6¡¢¡¢µ¯»É7¡¢¡¢µ¯»É×ù8¡¢¡¢µ÷ÀíÂݸË9¡¢¡¢Ëø½ôÂÝĸ10ÒÔ¼°Æø¶¯Ö´ÐÐÆ÷11£¬£¬Æø¶¯Ö´ÐÐÆ÷11ÉèÓÚ1µÄÉÏ·½£¬£¬Æø¶¯Ö´ÐÐÆ÷11Ò»²à»¹ÉèÓеçÀÂÃÜ·âÌ×12£¬£¬Í¨¹ýÔÚÆø¶¯Ö´ÐÐÆ÷11Ò»²àÉèÖõçÀÂÃÜ·âÌ×12£¬£¬¿ÉÒÔ½«µçÀÂÏß²ØÓÚµçÀÂÃÜ·âÌ×12ÖУ¬£¬·ÀÖ¹±»Íâ½çÇéÐÎÓ°ÏìʹÓ㬣¬ÅþÁ¬Æ÷4Ò»¶Ëͨ¹ýÉϲ¿·§¸Ë5ÓëÆø¶¯Ö´ÐÐÆ÷11ÅþÁ¬£¬£¬ÅþÁ¬Æ÷4ÁíÒ»¶Ëͨ¹ýϲ¿·§¸Ë6Óë·§Ìå1Àο¿ÅþÁ¬£¬£¬Í¨¹ýÔÚÆø¶¯µ÷Àí·§ÖÐÉèÖÃÅþÁ¬Æ÷4£¬£¬Í¨¹ýÅþÁ¬Æ÷4ÅþÁ¬Æø¶¯Ö´ÐÐÆ÷11ÒÔ¼°·§Ìå1£¬£¬Ê¹µÃÆø¶¯Ö´ÐÐÆ÷11ÄÜ·¢¶¯·§Ìå1ÔËÐУ¬£¬µ÷ÀíÂݸË9ÉèÓÚÅþÁ¬Æ÷4Á½²à£¬£¬Ëø½ôÂÝĸ10Ðý½ÓÓëµ÷ÀíÂݸË9ÉÏ£¬£¬ÔÚÉϲ¿·§¸Ë5Á½²àÉèÖõ÷ÀíÂݸË9£¬£¬Í¨¹ýµ÷ÀíÂݸË9ÓëËø½ôÂÝĸ10Ö®¼äµÄÅäºÍ£¬£¬ÔÚÆô±Õ·§ÃÅʱ£¬£¬È·±£·§¸Ç2¡¢¡¢·§Ìå1Óë·§°ê31Ö®¼äµÄÃÜ·âÐÔ¼á³ÖÓÅÒ죬£¬·§¸Ç2ÉèÓÚÆø¶¯Ö´ÐÐÆ÷11Óë·§Ìå1Ö®¼ä£¬£¬Ï²¿·§¸Ë6϶ËÉèÓÚ·§°ê×é¼þ3ÄÚ£¬£¬Ï²¿·§¸Ë6Á½²àÉèÓе¯»É×ù8£¬£¬µ¯»ÉÉèÓÚµ¯»É×ù8ÉÏ£¬£¬µ¯»É×ù8Óëϲ¿·§¸Ë6³Ê±ÊÖ±½á¹¹£¬£¬µ¯»ÉÓëϲ¿·§¸Ë6³ÊƽÐнṹ£¬£¬µ¯»É×ù8°üÀ¨Éϵ¯»É×ù81ÒÔ¼°Ïµ¯»É×ù82£¬£¬Éϵ¯»É×ù81Óëϵ¯»É×ù82³Ê¾¶Ïò¶Ô³ÆÂþÑÜ£¬£¬·§Ìå1Ï·½ÉèÓÐÈë¿Ú13£¬£¬·§Ìå1ÓÒ²àÉèÓгö¿Ú14£¬£¬·§°ê×é¼þ3°üÀ¨·§°ê31¡¢¡¢·§°ê×ù32¡¢¡¢·§°êµ¯»É33ÒÔ¼°oÐÍÃÜ·âȦ34£¬£¬·§°ê×ù42ÉèÓÚ·§°ê41µÄÏ·½£¬£¬oÐÍÃÜ·âȦ34ÉèÓÚ·§°ê31Óë·§°ê×ù32Ö®¼ä£¬£¬·§°êµ¯»É33ÉèÓÚ·§°ê×ù32Óë·§Ìå1Ö®¼ä£¬£¬·§°ê31³ÊtÐͽṹ£¬£¬·§°ê31Öв¿ÉèÓа¼²Û35£¬£¬°¼²Û35Óëϲ¿·§¸Ë6µÄµ×¶ËÏàÊÊÅ䣬£¬Í¨¹ýÔÚ·§°ê×é¼þ3ÖÐÉèÖ÷§°ê×ù32ÒÔ¼°·§°êµ¯»É33£¬£¬Í¨¹ý·§°ê×ù32ÒÔ¼°·§°êµ¯»É33£¬£¬Ê¹Æø¶¯µ÷Àí·§¾ßÓзÀÕñ¶¯ÐԺõÄÓŵ㣬£¬Í¨¹ýÔÚ·§°ê×é¼þ3ÖÐÉèÖÃoÐÍÃÜ·âȦ34£¬£¬Í¨¹ýoÐÍÃÜ·âȦ34¿ÉÒÔÔöÌí·§°ê31Óëϲ¿·§¸Ë6µÄÃÜ·âÐÔ¡£


¡¡¡¡Ê¹ÓÃÒªÁì


¡¡¡¡ÔÚʹÓÃÆø¶¯µ÷Àí·§Ö®Ç°£¬£¬Ê×ÏȾÙÐÐÃÜ·âÊÔÑ飬£¬ÔÚ·§ÃÅ´¦ÓڹرÕ״̬ʱ£¬£¬´ÓÈë¿ÚͨµÀͨÈëÊÔÑé½éÖÊ£¬£¬ÊÓ²ì³ö¿ÚͨµÀÓÐÎÞ×ß©¡£ÓÉÓÚ¼Ó¹¤Îó²î¡¢¡¢×°ÅäµÈ·½ÃæµÄÓ°Ï죬£¬·§Ìå1¡¢¡¢Éϲ¿·§¸Ë5¡¢¡¢Ï²¿·§¸Ë6ÒÔ¼°·§°ê×é¼þ3Ö®¼ä»á±¬·¢Ð©Î¢µÄ¾àÀ룬£¬Òò´ËÎÞ·¨µÖ´ïÈ«ÃÜ·â״̬£¬£¬ÊÂÇéÖ°Ô±ÊÖ¶¯µ÷ÀíËø½ôÂÝĸ10£¬£¬ÔÚµ÷ÀíÂݸË9ÉϾÙÐÐËø½ô·§Ìå1¡¢¡¢Éϲ¿·§¸Ë5¡¢¡¢Ï²¿·§¸Ë6ÒÔ¼°·§°ê×é¼þ3Ö®¼äËø½ô×°Ö㬣¬Ëø½ôÂÝ10ĸ·¢¶¯µ÷ÀíÂݸË9˳ʱÕëÐýת£¬£¬ÔÚµ÷ÀíÍâÂÝÎÆºÍµ÷ÀíÄÚÂÝÎÆµÄÅäºÏÏ£¬£¬ÊµÏÖ¶ÔÆø¶¯µ÷Àí·§µÄËø½ôµ÷Àí¡£


¡¡¡¡Ö»¹ÜÒѾ­Ê¾³öºÍÐÎòÁ˱¾ÊÊÓÃÐÂÐ͵ÄʵÑéÀý£¬£¬¹ØÓÚ±¾ÊÂÓòµÄͨË×ÊÖÒÕÖ°Ô±¶øÑÔ£¬£¬¿ÉÒÔÃ÷È·ÔÚ²»ÍÑÀë±¾ÊÊÓÃÐÂÐ͵ÄÔ­ÀíºÍ¾«ÉñµÄÇéÐÎÏ¿ÉÒÔ¶ÔÕâЩʵÑéÀý¾ÙÐжàÖÖת±ä¡¢¡¢Ð޸ġ¢¡¢Ìæ»»ºÍ±äÐÍ£¬£¬±¾ÊÊÓÃÐÂÐ͵ĹæÄ£ÓÉËù¸½È¨Á¦ÒªÇó¼°ÆäµÈͬÎïÏÞÖÆ¡£


¡¡¡¡ÊÖÒÕÌØÕ÷£º£º £º


¡¡¡¡1.Ò»ÖÖÊÖ¶¯Ê½Æø¶¯µ÷Àí·§£¬£¬ÆäÌØÕ÷ÔÚÓÚ£º£º £º°üÀ¨·§Ìå¡¢¡¢·§¸Ç¡¢¡¢·§°ê×é¼þ¡¢¡¢ÅþÁ¬Æ÷¡¢¡¢Éϲ¿·§¸Ë¡¢¡¢Ï²¿·§¸Ë¡¢¡¢µ¯»É¡¢¡¢µ¯»É×ù¡¢¡¢µ÷ÀíÂݸË¡¢¡¢Ëø½ôÂÝĸÒÔ¼°Æø¶¯Ö´ÐÐÆ÷£¬£¬ËùÊöÆø¶¯Ö´ÐÐÆ÷ÉèÓÚËùÊö·§ÌåµÄÉÏ·½£¬£¬ËùÊöÅþÁ¬Æ÷Ò»¶Ëͨ¹ýÉϲ¿·§¸ËÓëÆø¶¯Ö´ÐÐÆ÷ÅþÁ¬£¬£¬ËùÊöÅþÁ¬Æ÷ÁíÒ»¶Ëͨ¹ýϲ¿·§¸ËÓë·§ÌåÀο¿ÅþÁ¬£¬£¬ËùÊöµ÷ÀíÂݸËÉèÓÚËùÊöÅþÁ¬Æ÷Á½²à£¬£¬ËùÊöËø½ôÂÝĸÐý½ÓÓëËùÊöµ÷ÀíÂݸËÉÏ£¬£¬ËùÊö·§¸ÇÉèÓÚËùÊöÆø¶¯Ö´ÐÐÆ÷Óë·§ÌåÖ®¼ä£¬£¬ËùÊöϲ¿·§¸Ë϶ËÉèÓÚËùÊö·§°ê×é¼þÄÚ£¬£¬ËùÊöϲ¿·§¸ËÁ½²àÉèÓе¯»É×ù£¬£¬ËùÊöµ¯»ÉÉèÓÚËùÊöµ¯»É×ùÉÏ£¬£¬ËùÊö·§ÌåÏ·½ÉèÓÐÈë¿Ú£¬£¬ËùÊö·§ÌåÓÒ²àÉèÓгö¿Ú¡£


¡¡¡¡2.ƾ֤ȨÁ¦ÒªÇó1ËùÊöµÄÒ»ÖÖÊÖ¶¯Ê½Æø¶¯µ÷Àí·§£¬£¬ÆäÌØÕ÷ÔÚÓÚ£º£º £ºËùÊö·§°ê×é¼þ°üÀ¨·§°ê¡¢¡¢·§°ê×ù¡¢¡¢·§°êµ¯»ÉÒÔ¼°oÐÍÃÜ·âȦ£¬£¬ËùÊö·§°ê×ùÉèÓÚ·§°êµÄÏ·½£¬£¬ËùÊöoÐÍÃÜ·âȦÉèÓÚËùÊö·§°êÓë·§°ê×ùÖ®¼ä£¬£¬ËùÊö·§°êµ¯»ÉÉèÓÚËùÊö·§°ê×ùÓë·§ÌåÖ®¼ä¡£


¡¡¡¡3.ƾ֤ȨÁ¦ÒªÇó2ËùÊöµÄÒ»ÖÖÊÖ¶¯Ê½Æø¶¯µ÷Àí·§£¬£¬ÆäÌØÕ÷ÔÚÓÚ£º£º £ºËùÊö·§°ê³ÊtÐͽṹ£¬£¬ËùÊö·§°êÖв¿ÉèÓа¼²Û£¬£¬ËùÊö°¼²ÛÓëËùÊöϲ¿·§¸ËµÄµ×¶ËÏàÊÊÅä¡£


¡¡¡¡4.ƾ֤ȨÁ¦ÒªÇó1ËùÊöµÄÒ»ÖÖÊÖ¶¯Ê½Æø¶¯µ÷Àí·§£¬£¬ÆäÌØÕ÷ÔÚÓÚ£º£º £ºËùÊöµ¯»É×ùÓëËùÊöϲ¿·§¸Ë³Ê±ÊÖ±½á¹¹£¬£¬ËùÊöµ¯»ÉÓëËùÊöϲ¿·§¸Ë³ÊƽÐнṹ¡£


¡¡¡¡5.ƾ֤ȨÁ¦ÒªÇó4ËùÊöµÄÒ»ÖÖÊÖ¶¯Ê½Æø¶¯µ÷Àí·§£¬£¬ÆäÌØÕ÷ÔÚÓÚ£º£º £ºËùÊöµ¯»É×ù°üÀ¨Éϵ¯»É×ùÒÔ¼°Ïµ¯»É×ù£¬£¬ËùÊöÉϵ¯»É×ùÓëËùÊöϵ¯»É×ù³Ê¾¶Ïò¶Ô³ÆÂþÑÜ¡£


¡¡¡¡6.ƾ֤ȨÁ¦ÒªÇó1ËùÊöµÄÒ»ÖÖÊÖ¶¯Ê½Æø¶¯µ÷Àí·§£¬£¬ÆäÌØÕ÷ÔÚÓÚ£º£º £ºËùÊöÆø¶¯Ö´ÐÐÆ÷Ò»²à»¹ÉèÓеçÀÂÃÜ·âÌס£


¡¡¡¡ÊÖÒÕ×ܽá


¡¡¡¡±¾ÊÊÓÃÐÂÐ͹ûÕæÁËÒ»ÖÖÊÖ¶¯Ê½Æø¶¯µ÷Àí·§£¬£¬°üÀ¨·§Ìå¡¢¡¢·§¸Ç¡¢¡¢·§°ê×é¼þ¡¢¡¢ÅþÁ¬Æ÷¡¢¡¢Éϲ¿·§¸Ë¡¢¡¢Ï²¿·§¸Ë¡¢¡¢µ¯»É¡¢¡¢µ¯»É×ù¡¢¡¢µ÷ÀíÂݸË¡¢¡¢Ëø½ôÂÝĸÒÔ¼°Æø¶¯Ö´ÐÐÆ÷£¬£¬Æø¶¯Ö´ÐÐÆ÷ÉèÓÚ·§ÌåµÄÉÏ·½£¬£¬ÅþÁ¬Æ÷Ò»¶Ëͨ¹ýÉϲ¿·§¸ËÓëÆø¶¯Ö´ÐÐÆ÷ÅþÁ¬£¬£¬ÅþÁ¬Æ÷ÁíÒ»¶Ëͨ¹ýϲ¿·§¸ËÓë·§ÌåÀο¿ÅþÁ¬£¬£¬µ÷ÀíÂݸËÉèÓÚÅþÁ¬Æ÷Á½²à£¬£¬Ëø½ôÂÝĸÐý½ÓÓëµ÷ÀíÂݸËÉÏ£¬£¬·§¸ÇÉèÓÚÆø¶¯Ö´ÐÐÆ÷Óë·§ÌåÖ®¼ä£¬£¬Ï²¿·§¸Ë϶ËÉèÓÚ·§°ê×é¼þÄÚ£¬£¬Ï²¿·§¸ËÁ½²àÉèÓе¯»É×ù£¬£¬µ¯»ÉÉèÓÚµ¯»É×ùÉÏ£¬£¬·§ÌåÏ·½ÉèÓÐÈë¿Ú£¬£¬·§ÌåÓÒ²àÉèÓгö¿Ú¡£±¾ÊÊÓÃÐÂÐÍͨ¹ýÆø¶¯µ÷Àí·§Öи÷×é¼þÖ®¼äµÄÏ໥ÅäºÏ£¬£¬Ê¹ÓÃÆø¶¯µ÷Àí·§Äڵĵ÷Àí¸Ë£¬£¬¿ÉÒÔÊÖ¶¯µ÷ÀíÆø¶¯µ÷Àí·§µÄËø½ô½á¹¹£¬£¬Ê¹µÃµ÷Àí·§ÐÔÄÜÎȹÌ£¬£¬½á¹¹¼òÆÓ£¬£¬±ãÓÚÉú²úÖÆÔìºÍ²Ù×÷¡£



ÊÖ»ú£º£º £º17706668555
? 2019 °æÈ¨ËùÓÐ William HillÍþÁ®Ï£¶û
¡¾ÍøÕ¾µØÍ¼¡¿
Ò»ÖÖÊÖ¶¯Ê½Æø¶¯µ÷Àí·§µÄÖÆ×÷ÒªÁì-·§ÃÅ֪ʶ-¹¤¿Ø³Ì¿